油壓指的是原油從井底流到井口的剩余壓力。分為靜壓和流壓兩種情況,關井時的油壓稱為靜壓,生產時的油壓稱為流壓,流壓因為存在摩擦和滑阻損失,因此小于靜壓。靜壓可以直觀地判斷地層壓力下降情況,而流壓與產量有關,產量上升,流壓下降。
水壓指水的壓強。用容器盛水時,由于水受重力,就有相當于那么多重量的壓力,向容器的壁及底面作用。盛在容器中的水,對側面及底面都有壓力作用,對任何方向的面,壓力總是垂直于接觸面的。而且深度相同時,壓強也相同;液體越深,則壓強也越大。
風壓(wind pressure)由于建筑物的阻擋,使四周空氣受阻,動壓下降,靜壓升高。側面和背面產生局部渦流,靜壓下降,動壓升高。和遠處未受干擾的氣流相比,這種靜壓的升高和降低統稱為風壓。
簡言之:風壓就是垂直于氣流方向的平面所受到的風的壓力。
氣壓是作用在單位面積上的大氣壓力,即在數值上等于單位面積上向上延伸到大氣上界的垂直空氣柱所受到的重力**的馬德堡半球實驗證明了它的存在。氣壓的國際制單位是帕斯卡,簡稱帕,符號是Pa。
液壓是機械行業、機電行業的一個名詞。液壓可以用動力傳動方式,成為液壓傳動。液壓也可用作控制方式稱為液壓控制。
液壓傳動是以液體作為工作介質,利用液體的壓力能來傳遞動力。
流體,是與固體相對應的一種物體形態,是液體和氣體的總稱。由大量的、不斷地作熱運動而且無固定平衡位置的分子構成的,流體都有一定的可壓縮性,液體可壓縮性很小,而氣體的可壓縮性較大,在流體的形狀改變時,流體各層之間也存在一定的運動阻力(即粘滯性)。
物理學上的壓力,是指發生在兩個物體的接觸表面的作用力,或者是氣體對于固體和液體表面的垂直作用力,或者是液體對于固體表面的垂直作用力。習慣上,在力學和多數工程學科中,“壓力”一詞與物理學中的壓強同義。
水泵是輸送液體或使液體增壓的機械。它將原動機的機械能或其他外部能量傳送給液體,使液體能量增加,主要用來輸送液體包括水、油、酸堿液、乳化液、懸乳液和液態金屬等。
變頻器(Variable-frequency Drive,VFD)是應用變頻技術與微電子技術,通過改變電機工作電源頻率方式來控制交流電動機的電力控制設備。
變頻器主要由整流(交流變直流)、濾波、逆變(直流變交流)、制動單元、驅動單元、檢測單元微處理單元等組成。變頻器靠內部IGBT的開斷來調整輸出電源的電壓和頻率,根據電機的實際需要來提供其所需要的電源電壓,進而達到節能、調速的目的,另外,變頻器還有很多的保護功能,如過流、過壓、過載保護等等。
管道是用管子、管子聯接件和閥門等聯接成的用于輸送氣體、液體或帶固體顆粒的流體的裝置。通常,流體經鼓風機、壓縮機、泵和鍋爐等增壓后,從管道的高壓處流向低壓處,也可利用流體自身的壓力或重力輸送。
水處理是指為使水質達到一定使用標準而采取的物理、化學措施。飲用水的**標準由環保部門制定。工業用水有自己的要求。水的溫度、顏色、透明度、氣味、味道等物理特性是判斷水質好壞的基本標準。水的化學特性,如其酸堿度、所溶解的固體物濃度和氧氣含量等,也是判斷水質的重要標準。
PT500系列普量PT500系列 工業級壓力傳感器 化工 石化壓力變送器 水利液位傳感器進口感壓芯片,零點、滿量程、溫漂補償,全封焊結構、抗沖擊、耐疲勞、可靠性高,標準4-20mA,0-5VDC,RS485,RS232輸出
一、產品概述
A、采用進口感壓芯片;
B、選進的貼片工藝,具有零點、滿量程補償,溫度補償;
C、高精度和高穩定性放大集成電路;
D、全封焊結構、抗沖擊、耐疲勞、可靠性高;
E、輸出信號多樣化,如4-20mA,0-5VDC,0.5-4.5VDC,0-10VDC,RS485-RTU,TTL,GPRS無線,433MHz無線等;
F、結構小,外徑最小可達26mm;
G、介質溫度可達500度,連接方式多樣化,如螺紋、法蘭、快速接口、毛細管等;
H、可直接配套就地顯示表頭;
二、普量PT500系列 工業級壓力傳感器 化工 石化壓力變送器 水利液位傳感器產品應用:
A、液壓及氣動控制系統的壓力測試與監控;
B、石化、環保、空氣壓縮行業壓力測量;
C、樓宇自動化、恒壓供水系統壓力檢測;
D、工業過程檢測與控制;實驗室壓力校驗
F、電站運行巡檢、機車制動液壓系統;
E、城市管網、油田管道、大小型水電站的壓力網絡組態采集
三、普量PT500系列 工業級壓力傳感器 化工 石化壓力變送器 水利液位傳感器主要技術參數
被測介質: 氣體、液體及蒸氣(弱腐蝕性)
壓力類型: 表壓;絕壓
量 程:
表壓正壓:5Kpa~500Kpa;0.6~500Mpa(任意量程)
表壓負壓:-100Kpa~0;-50Kpa~0;-20Kpa~0;-10Kpa~0;
表壓正負壓:-100KPa~100KPa;-100KPa~600KPa;-100KPa~1000KPa;-0.1MPa~1.6MPa;-0.1MPa~2.5MPa;±10KPa;±50KPa;±100KPa;
絕壓:0.1MPa;0.6MPa;1MPa;1.6MPa;2MPa;3MPa
輸 出:
電流輸出:4-20mA(二線制);0-20mA(三線制)
電壓輸出:0-5VDC;0-10VDC;1-5VDC;0.5-4.5VDC;1-10VDC
數字輸出:R485-RTU;RS232;TTL電平(超低功耗型,供電3-5VDC,待機電流50uA,發射電流1.5mA)
無線轉輸:GPRS無線,433M/2.4G短距離無線
綜合精度: ±0.1%FS(量程60MPa以上)、±0.25%FS、±0.5%FS
供 電: 24V Dc(12~36VDC)
絕緣電阻: ≥1000 MΩ/100VDC
負載電阻: 電流輸出型:最大800Ω;電壓輸出型:大于50KΩ
介質溫度: -20~85℃、-20~150℃、-20~200℃、-20~300℃(可選)
環境溫度:-20~85℃
儲存溫度:-40~90℃
相對濕度: 0~95% RH
密封等級:IP65/IP68
過載能力: 150%FS
響應時間:≤10mS
穩 定 性:≤±0.15%FS/年
振動影響:≤±0.15%FS/年(機械振動頻率20Hz~1000Hz)
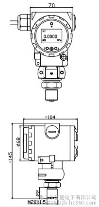
電氣連接:赫絲曼接頭(國際標準);標準配線3米
壓力連接:M20×1.5,其它螺紋可依據客戶要求設計
連接螺紋材料:304/316L不銹鋼









